Nuestro aislador de transistor permite una mejor fijación del transistor, aislándolo y protegiéndolo.

Material: PA66  
Cores padrão: Natural
UL94:   V2  
IP:   
RoHS:    
Medidas expressas em: Milímetros
Drawing PDF:  


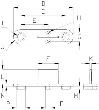
Referencia
D / C
E / F
G / H
I / J
K / L
M / N
O / P
 
PDF
3D IGS
Añadir
00100900441 35,51 / 24,64 14,85 / 11,17 4,92 / 1,37 3,55 / 3,96 5,02 / 7,82 1,57 / 1,27 2,89 / 4,87      






PYME